たためる多面体シリーズ@ たためる立方体

【たためる立方体】作り方説明

1. セットに入っている材料

@部材12枚入りのシート ……1枚
Aハトメ(2つで1組を8組使う)9組
B打ち具 ………………………1個
Cこの作り方説明書 ……………1部

2.用意する道具

@小さめの金づち
Aかまぼこ板くらいのなるべく堅い板
B部材の半分くらいの厚さの紙で作った図
のようなU字形の紙(溝幅は約6ミリ)

3.部材の留め方

 図のように上から打ち具、穴径の大きいハトメ金具、U字形の
厚紙、3枚の部材、穴径の小さいハトメ金具、 板の順に重ねて
金づちで叩いて留めます。U字形の厚紙を引き抜いたあとでは
部材が回せる程度に留めます。

【ハトメの打ち方注意】

ハトメ金具には図のように2つのタイプがあり、AとBを組み合わせて使います。 必ずAの後側に打ち具
を当ててたたいて下さい。   打ち終わったとき、Bの先端が少し開いてAの内側にぴったりついている
ことを確認してください(Aの先も開いていますがそれは見えません)。    開かずつぶれたりしている
場合は、Bの方が外れることがあります。  またBの後側に打ち具を当ててたたいた場合は、Bの先端
は開きませんからやはり外れやすいです。  さらにU字形の紙が厚いと、部材3枚と合わせると全体が
厚くなりすぎ、しっかりとは留まりません。部材の半分程度の厚さのもので作って下さい。        .
フードパックとして使われている透明のスチロール箱のふたなども利用できます。             .
 
 
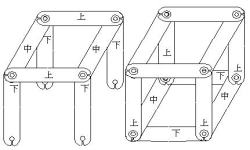
4. 部材同士のつなぎ方

図左のように四角の下に縦の柱を付け、その下に図右のよう
に四角を加えます。
部材同士の上下関係は一応図のようにするのが基本ですが、
あとで上下の入れ替えはできますから、間違えてもハトメを取
り外してやり直す必要はありません。

5.変形の基本
 前図のように組みたてることができたら、色々な形にしてみましょう。
図の丸みを帯びた立方体のように、地面から高い所にある部材が低い
所にある部材より外側に位置していると、矢印の方向にたためます。
(そうでなくてもたためる場合があります)。円筒形にしてねじるように
押し下げると正方形になります。

6.部材の上下入れ替え方法

  題字の周りの図の中には部材の上下関係を入れ替えないと
できないものもあります。右の図は中の部材を上部に出す方法
です。  ( 組み立て前に部材の溝の側面を少し尖らせておくと
この操作が楽ですが、部材がハトメから抜け落ちやすくなります)

【注意】
細長く伸ばして振り回すとのようになり危険です。 また立体の中にゴム風船などを入れて
ボールの代用に使うことは壊れやすい上に金属ハトメがあって危険ですからおやめ下さい。.

【たためる十二面体】
 部材30枚、ハトメ20組を使って作ります。  たためるための基本的な条件は、円筒形
の状態で地面から高い位置の部材が低い位置の部材より外側に位置していることです。

【たためる十四面体】
部材36枚、ハトメ24組を使って作ります、正八面体の6つの先端を切った形です、たためる
ための条件は 十二面体のときと同じですが、 この多面体の面は正方形と正六角形なので
たたみやすく、たくさんの図形ができます。                              .